福特电马宣布战略调整:长安福特接手运营,业务转移至官方账号
【本站】8月10日消息,福特电马在今日宣布了一项重大的战略调整,引起了业界的广泛关注。根据福特汽车在中国市场的电气化转型计划,福特电马将于8月25日正式关停其社交媒体账号,并将其业务和功能转移至长安福特的官方账号下。福特电马作为福特汽车在中国市场
更新日期:2023-07-15
来源:系统之家
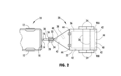
【本站】7月15日消息,福特汽车公司最近获得了一项引人注目的技术专利,该专利涉及一种名为"移动充电拖车"的创新设备。据悉,该拖车在2022年1月13日提交专利申请,并在7月13日的清单中正式公示。这项技术专利的引入将为建筑工地和其他场景带来全新的便利和灵活性。
据福特表示,这种移动充电拖车特别适用于建筑工地环境,能够连接电动滑移装载机、起重机等多种设备,满足灵活的生产需求。通过拖车上配备的充电端口,电动汽车和其他设备可以随时获得动力供应,提高工作效率和便捷性。这一创新设计有望在建筑行业中引起巨大的变革,并为现代化工地提供更加智能、高效的解决方案。
尽管福特的专利申请并未明确提及,但据本站了解,这种电动拖车的应用领域远不止建筑工地。可以预见,这种拖车也可能在露营、海滩度假、聚会等活动中发挥重要作用,成为一个超大号的"移动电源"。其便携性和充电功能使得使用者可以随时为电动汽车、户外设备等提供可靠的动力支持,极大地增加了户外活动的便利性和舒适度。
这项技术专利的公示引起了业界和消费者的广泛关注。福特汽车公司的创新举措再次展示了他们对于电动车辆和可持续出行的承诺。通过开发这样一项具有多样化应用场景的移动充电拖车,福特为未来的出行和工作方式提供了新的可能性,同时也推动了清洁能源的普及和应用。随着这一技术的不断发展和推广,人们可以期待更多创新的出现,让我们的生活更加便捷、绿色、可持续。
福特电马宣布战略调整:长安福特接手运营,业务转移至官方账号
【本站】8月10日消息,福特电马在今日宣布了一项重大的战略调整,引起了业界的广泛关注。根据福特汽车在中国市场的电气化转型计划,福特电马将于8月25日正式关停其社交媒体账号,并将其业务和功能转移至长安福特的官方账号下。福特电马作为福特汽车在中国市场
福特汽车欧洲部门考虑采用大众MEB平台的可能性
【本站】7月15日消息,福特汽车欧洲乘用车负责人Martin Sander最近接受了Automotive News Europe的采访。据他透露,福特嘉华年(Fiesta)车型有可能采用大众MEB平台。福特嘉华年曾是福特在欧洲市场最畅销的车型,年销量约为45.9万辆。然而,福特于今年7月7日停
福特高层表达担忧:中国电动汽车制造商成为主要竞争对手
【本站】6月19日消息,福特汽车的执行董事长比尔福特在最近的一次采访中表示,美国尚未准备好与中国在电动汽车生产领域展开竞争。比尔福特表示:“中国电动汽车行业的发展非常迅速,他们以大规模生产为特点,目前还在向其他国家出口产品。虽然他们还没有在美
福特电动皮卡F-150 Lightning基础车型售价上调2万美元
【本站】3月31日消息,福特公司近日宣布,旗下电动皮卡F-150 Lightning的基础车型“Pro”售价从55974美元上调至59974美元,其他车型如Lariat和Platinum也有不同程度的涨价。据悉,Lariat车型的售价上涨了1500美元,达到77869美元,Platinum车型的售价上涨了12
福特探索者EV采用大众MEB平台,25分钟快充能让你享受更长的行驶里程
【本站】3月22日消息,福特汽车公司最近在欧洲发布了一款全新的电动SUV——探索者EV。据悉,这款车型是福特首次采用大众汽车的MEB平台打造。目前该车已经开始接受预订,预计将于今年晚些时候正式上市。福特汽车公司表示,这款车可以在25分钟内从10%的电量充至
福特全新跨界车型将于 3 月 21 日发布,基于大众 MEB 纯电平台
2 月 27 日消息,福特欧洲设计总监 Amko Leenarts 宣布,该品牌将于 3 月 21 日推出一款基于 MEB 架构的跨界新车型,这是是福特与大众计划推出的两款合作车型中的第一款。当然,福特坚称其新款电动汽车将拥有自己独特的美国设计,并且不会像 ID.4 和斯柯达 Enyaq 等大众
生产线上电池起火:福特F-150电动皮卡暂时停产
近日消息,据海外媒体报道,福特旗下首款纯电皮卡F-150 Lightning将暂停生产。原因说来也挺让人意外:2月4日工厂生产线上一台 F-150 Lightning车型的电池起火,福特同时宣布,恢复生产的时间不会早于2月23日。官方在2月份表示F-150 Lightning停产,称这是因为“潜在的电
德媒:除比亚迪外 另有两巨头参与福特德国工厂竞购
今日,德国媒体报道称,除比亚迪外,汽车零部件供应商麦格纳与荷兰汽车制造商VDL Nedcar也有意购买福特在德国的萨尔路易工厂。此前外媒的报道指出,福特汽车正计划将位于德国的萨尔路易工厂出售给全球首家成功转型新能源汽车的比亚迪,据报道,目前福特主要将该
最野性的福特SUV!探险者Timberline亮相:超帅黑橙配色
这或许是最野性、最耀眼的福特探险者了。近日,我们从工信部最新一批次申报目录中,获取了福特探险者Timberline车型的申报信息,该车基于普通版的探险者打造,但样式大变,更富野性美感。值得注意的是,该版本的探险者此前仅在美国市场出售,此次为首次引入
特斯拉官宣降价后 福特电马“舍命”跟进:最多便宜近3万
特斯拉中国官宣降价后,第一个真正意义上跟进降价的车企出现了。10月31日消息,长安福特官方宣布,旗下福特电马Mustang Mach-E将于今日起正式降价,全系降价幅度在2-2.8万元之间,幅度并不小,价格调整后,福特电马4款车型,售价区间为24.99-36.99万元。该
2023年七月 中国汽车产销双降 新能源车市持续高增长
【本站】8月10日消息,根据中国汽车工业协会的数据,今年7月,中国汽车市场呈现出一定程度的下滑。在过去的一个月里,我国共生产了240.1万辆汽车,而销售量为238.7万辆,环比分别下降了6.2%和9%。同比而言,产量和销售量分别下降了2.2%和1.4%。从今年1月到7月
全新一代AMG版GLE车型发布:豪华性能SUV再添力作
【本站】8月10日消息,今日上午,梅赛德斯官方正式宣布了全新一代AMG版GLE车型的价格和技术细节。这款车型在豪华性能SUV市场再次引发了高度关注。据了解,新一代AMG GLE车型分为多个配置,包括GLE 53 4MATIC+和GLE 63 S 4MATIC+,定价分别为110.28万元、117.0
FF 91 2.0 Futurist Alliance首辆交付仪式即将开始
【本站】8月10日消息,法拉第未来近日宣布,他们将于今日起开启一项特别的交付活动,为其开发者共创节落下帷幕。法拉第未来表示,他们已完成所有必要的合规程序和步骤,准备好向用户交付崭新的汽车。据了解,这次特别交付活动的亮点之一是首辆FF 91 2.0 Futur
FF推出特别交付活动,8月15日播放实况,开发者共创节拉开序幕
【本站】8月10日消息,法拉第未来(FF)近日宣布即将启动一项特别交付活动,为开发者共同创造的节日拉开序幕。在这次活动中,FF将通过直播方式展示首辆FF 91 2.0 Futurist Alliance电动汽车的交付仪式,重点介绍即将交付给更多车主的全新车型。据了解,公司已完
强劲动力与智能科技融合 全新AMG GLE系列震撼上市
【本站】8月10日消息,今天,全新一代梅赛德斯-AMG GLE系列车型正式亮相。这次新车发布了三款不同配置的车型,分别是53 4MATIC+、53 4MATIC+轿跑SUV和63 S 4MATIC+,定价分别为110.28万元、117.08万元和162.68万元。新款AMG GLE在外观设计方面进行了全面升级